[摘要] 暖通人在项目施行过程中充分考虑两体系之间的联动操控逻辑关系,在相应设备订购时能周密的考虑其技能要求、参数要求及相应的接口类型,将大大提高工作效率和经济效益。

几种典型的防排烟体系:
1、通风与排烟体系分隔设置
在通风、空调体系的送、回风管路上设置防火阀,平常呈敞开状况,当火灾一旦产生,管道内气体温度达到 70℃时即自行封闭。在排烟体系管道上或排烟风机的排风口处设置排烟阀,平常呈封闭状况,当火灾产生时,经过火灾报警信号手动或主动敞开阀门,依据体系功用配合排烟,当管道内烟气温度达到 280℃时主动封闭。
2、通风与排烟共用一套体系
在体系管道上或排风兼排烟风机的排风口处设置排烟阀,平常呈敞开状况,排风兼排烟风机低速运转。一旦火灾产生时,排风兼排烟风机高速运转。
3、通风与排烟共用一套风管,别离设置通风机和排烟风机
在体系管道上设置排烟阀,在体系管道末端设置“T”风管将通风机和排烟风机与体系风管连通。通风机的送风口处设置防火阀,平常呈敞开状况,当火灾一旦产生,电动封闭,风机封闭; 排烟风机的排风口处排烟阀,平常呈封闭状况,当火灾一旦产生,电动敞开,风机启动。
电气联动操控原理:
1- 通风与排烟体系分隔设置
1.1 操控流程:

1.2 操控原理:
1.2.1 平常只运转通风体系。通风体系中防火阀敞开,通风机正常运转,当防火阀封闭时,通风机中止运转; 排烟体系中排烟阀封闭,排烟风机不运转。
1.2.2 一旦火灾产生:
1) 消防报警体系火灾探测器将火灾信号传送至消防主机。
2) 消防主机承认火灾后,宣布信号至消防联动柜。
3) 经过消防联动柜手动 / 主动别离宣布操控信号,中止通风机,封闭防火阀,通风体系中止使用; 敞开防火阀,启动排烟机,排烟体系投入使用。为了确保安全,排烟机一般不经过消防联动操控体系主动封闭,而只设置手动封闭方法。
4) 防火阀封闭信号,排烟阀敞开信号,通风机和排烟风机运转信号反应到消防中心。
1.3 消防中心监控点一览表:

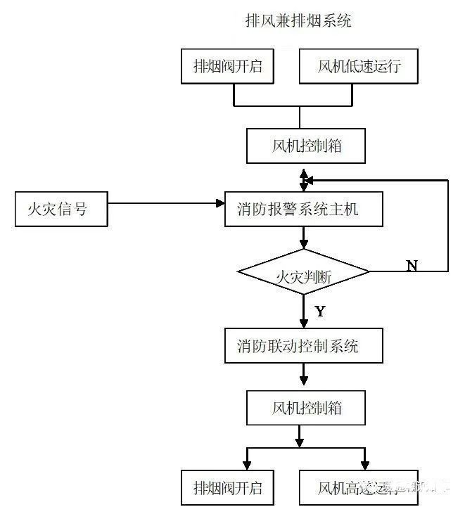
2- 通风与排烟共用一套体系
2.1 操控流程:

2.2 操控原理:
排风兼排烟体系,排风与排烟的方向共同。
2.2.1 该体系中排烟阀为常开状况,平常风机低速运转,完结通风功用。
2.2.2 一旦火灾产生:
1) 消防报警体系火灾探测器将火灾信号传送至消防主机。
2) 消防主机承认火灾后,宣布信号至消防联动柜。
3) 经过消防联动柜手动 / 主动别离宣布操控信号,排风兼排烟风机低速运转转为高速运转,完结排烟功用。
4) 排烟阀封闭信号,排风兼排烟风机运转信号反应到消防中心。
2.3 消防中心监控点一览表:

3- 通风与排烟共用一套风管,别离设置通风机和排烟风机
3.1 操控流程:

3.2 操控原理:
该体系通风机出风口设置防火阀,排烟机出风口设置排烟阀,风管中设置排烟阀 (常开)。该体系排风与排烟的方向相反。
3.2.1 平常该体系中防火阀为敞开状况,通风机运转,完结通风功用。排烟阀为封闭状况,排烟机中止。
3.2.2 一旦火灾产生:
1) 消防报警体系火灾探测器将火灾信号传送至消防主机。
2) 消防主机承认火灾后,宣布信号至消防联动柜。
3) 经过消防联动柜手动 / 主动别离宣布操控信号至风机、排烟机操控箱,经过操控箱完结下列操控,完结排烟功用。
4) 防火阀封闭信号,排烟阀敞开信号,通风机和排烟风机运转信号反应到消防中心。
3.3 消防中心监控点一览表:

上述三种防排烟体系类型及其操控方法均在不同的工程施行中实现过,都能满意相关规范要求,并都顺利经过消防检验。
工程技能人员如能把握防排烟体系与消防联动操控的原理及熟练的运用,
最终,从分享君个人角度:主张规划第一种方案 (通风和消防分隔),可能会每层影响一些井道面积,但互不影响,从操控角度来说也比较便利。
以上就是修建界暖通频道为您带来“防排烟体系与消防联动操控的类型与设置”内容,修建界暖通频道分享暖通规划相关内容,寻觅修建之美,探索修建之路,欢迎关注我们~